eubau.de > Startseite

Systembauelemente

Wandelemente
Decken/Platten
Dachelemente
Hallensysteme
Stallbauten
Nasszellen

Sichtbeton
Schalungen
Kellerwände
Schornsteine
Silowände
Winkelstützen



EUBAU Flachdachelemente

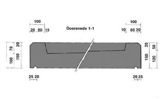
Detail-Zeichnung eines EUBAU Garagendachs.

zurück